|
|
|
|
|
|
|
| 高精度ガスカートリッジフィルター |
|
| ディスク形ガスカートリッジフィルター |
 |
|
 |
| 特長 |
■圧縮空気、窒素などの精密濾過。 |
|
■ろ材はPTFEをカートリッジ化し、ろ過精度0.01μmを99.99%の捕集効率。 |
|
■フィルター交換が可能です。 |
| 用途 |
■クリーンブロー、清浄液体圧送、エアマイクロメータ、静電塗装。 |
|
|
|
| 仕 様 |
|
構 造 |
| 使用流体 |
空気、窒素 |
| 使用圧力 |
MAX0.99Mpa(真空:1.3×10−6kPa) |
| 使用温度 |
5〜80℃ |
| 耐差圧 |
MAX0.1Mpa |
| 逆差圧 |
MAX0.05Mpa |
| ろ過度 |
0.01μm(捕集効率99.99%) |
| 二次側清浄度 |
0.1μm以上の粒子は確認されず |
| 主要材質 |
ケース |
SUS316(内側面は電解研磨) |
| ろ材 |
PTFEメンブレンフィルター |
| シール |
フッ素ゴム(FKM) |
|
|
 |
|
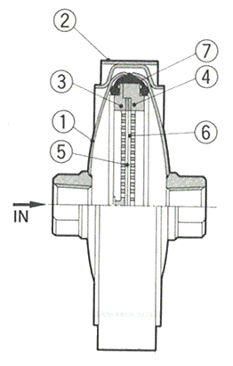
| 番号 |
部品名 |
材質 |
備考 |
| 1 |
ケース |
SUS316 |
電解研磨(内側面) |
| 2 |
Vクランプ |
SUS304 |
― |
| 3 |
ホルダ1 |
ポリエステル |
カートリッジ式 |
| 4 |
ホルダ2 |
| 5 |
ろ材 |
PTFE |
| 6 |
パッキン |
フッ素ゴム |
| 7 |
Vパッキン |
|
|
|
| 寸 法 |
 |
|
| 型式 |
接続 |
A |
φB |
定格流量(l/min) |
ろ過面積(cu) |
| PGDF100-02 |
Rc1/4 |
46 |
76 |
26 |
13.85 |
| PGDF101-02 |
NPT1/4 |
| PGDF200-02 |
PC1/4 |
51 |
96 |
70 |
33.18 |
| PGDF201-02 |
NPT1/4 |
| PGDF300-02 |
Rc1/4 |
59 |
120 |
140 |
56.75 |
| PGDF301-02 |
NPT1/4 |
入口圧力0.7Mpa時
TSJ1/4、UOJ1/4ねじにも対応 |
|
|
|
| ストレート形ガスカートリッジフィルター/ストレーナ |
 |
|
 |
| 特長 |
■圧縮空気、窒素などの精密濾過。 |
|
■ろ材はPTFEをカートリッジ化し、ろ過精度0.01μmを99.99%の捕集効率。 |
|
■フィルター交換が可能です。 |
|
■SUS316焼結金属フィルターを用いたストレーナも用意しました。 |
| 用途 |
■クリーンブロー、清浄液体圧送、エアマイクロメータ、静電塗装。 |
|
|
|
| 仕 様 |
| 使用流体 |
空気、窒素 |
| 使用圧力 |
MAX0.99Mpa(真空:1.3×10−6kPa) |
| 使用温度 |
5〜80℃ |
| 耐差圧 |
MAX0.5Mpa(1.0Mpa) |
| 逆差圧 |
MAX0.07Mpa(1.0Mpa) |
| ろ過度 |
100タイプ:0.01μm(PTFEメンブレン) |
| 200タイプ:120μm(焼結金属) |
| 二次側清浄度 |
0.1μm以上の粒子は確認されず |
| 主要材質 |
ケース |
SUS316(内側面は電解研磨) |
| ろ材 |
PTFEまたはSUS316焼結金属 |
| シール |
フッ素ゴム(FKM) |
|
|
|
| ( )の数値は焼結金属を用いた場合 |
|
|
|
|
| 構 造 |
 |
|
| 番号 |
部品名 |
材質 |
備考 |
| 1 |
ケース |
SUS316 |
電解研磨(内側面) |
| 2 |
カバー |
| 3 |
ろ材 |
ガスフィルター |
PTFE |
PGSF10□の場合 |
| ガスストレーナ |
SUS316焼結金属 |
PGSF20□の場合 |
| 4 |
Oリング |
フッ素ゴム |
― |
| 5 |
六角穴付ねじ |
SUS304 |
M3 |
| 6 |
ブラケット |
― |
|
|
|
| 寸 法 |
 |
|
| 型式 |
接続 |
定格流量(l/min) |
ろ過面積(cu) |
| PGSF100-02、200-02、300-02 |
Rc1/4 |
45(400) |
10 |
| PGSF101-02、201-02 |
NPT1/4 |
| PGSF104-M5 |
M5 |
入口圧力0.7Mpa時
( )の流量はPGSF20□の場合
TSJ1/4、UOJ1/4ねじにも対応 |
|
|
| 注意事項 |
| ■エアブローなどの圧縮空気を使用される場合、消費される空気の最大量を考慮してください。 |
| ■最大処理量を超える過大な圧縮空気を流しますと圧縮空気の洗浄度の低下やフィルターの破損の原因になります。 |
| ■水や油の含んだ圧縮空気は使用できません。ドライヤやミストセパレータを設置してください。 |